Company filings indicate Tesla recently documented a completely new interior fastener design in patent US 2026/0110320 A1. And the company created a three-piece attachment system to replace standard plastic trim clips. Standard fasteners often create squeaking sounds inside the cabin over time, then they break easily during maintenance. Yet Tesla decided to fix this issue at the root. The new part features a hidden internal snap and a shock-absorbing cap. In fact, this tiny hardware upgrade aims to eliminate vehicle rattles forever.


The problem with standard fasteners
Automakers typically struggle with cabin noise caused by plastic parts rubbing against metal frames. Soon mechanics face trouble when trying to find these sounds. Standard single-piece clips act like zip ties and break as soon as a technician removes a panel.
Car companies sometimes use reusable multi-piece clips instead. But these older designs rely on external snapping mechanisms. Bulky external snaps take up too much physical space behind the vehicle interior. Engineers call this a packaging problem. And they have a hard time fitting long clips into tight spots without ruining the quiet ride.
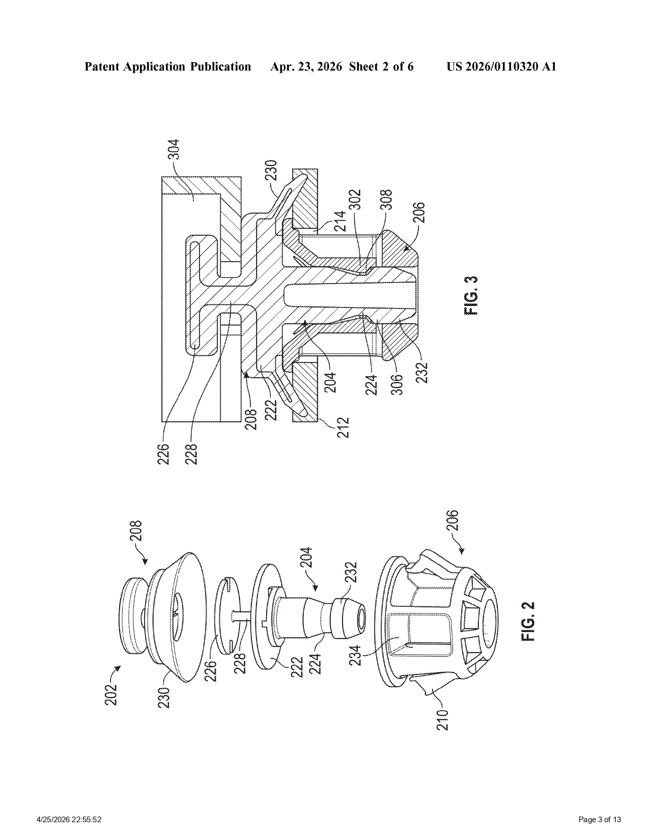
A compact three-piece layout
Tesla solved the size issue by splitting the fastener into three separate parts. A rigid central pin slides inside a smart grommet, and this outer sleeve anchors directly into the metal car frame. A soft rubbery cap covers the top of the pin.
Engineers moved the snap connection inside the grommet to save room. The pin locks into the center using an internal catch. Now the entire unit sits nearly flat against the metal surface. This low-profile shape easily fits behind tight interior panels. The pin itself uses a disc-shaped main head and an auxiliary head. A narrow gap sits between them like a thread spool. And this empty space firmly cradles the decorative interior panel.
Stopping the noise
The soft top cap wraps around both pin heads to form a tight three-dimensional grip. This prevents the decorative trim from slipping on bumpy roads. Tesla builds the cap from a thermoplastic elastomer, which is a hybrid material that mixes structural strength with flexible rubber.
Factory machines melt the soft layer directly over the base piece to create one solid mushroom shape. The rubber sits directly between the hard plastic pin and the metal car frame. It then acts as a tiny shock absorber to stop road vibrations from reaching passenger ears.
The base parts are not made of basic plastic. Tesla uses injection-molded nylon packed with microscopic glass fibers. This mixture adds extreme rigidity, similar to steel rebar in wet concrete. And the structural pieces can withstand a massive amount of pulling force. Engineers added tiny grooves and textures to the hard nylon pin. The hot rubber flows into these valleys during manufacturing. It hardens to form a permanent mechanical lock between the soft and hard materials. This then stops the rubber from peeling off over time.
Internal hooks and easy removal
The pin tip looks like a rounded match head with a deep cone-shaped groove wrapped underneath it. Tiny flexible hooks live inside the outer grommet. When someone pushes the pin inside, these hooks bend outward to pass the rounded tip. They then snap securely inward to grab the deep groove.
Tesla molded these internal snaps out of scooped hollows to keep the outside of the clip perfectly slim. Technicians can still extract the whole assembly safely. The external anchors feature flat shoulders that rest against the metal panel. When a mechanic pulls the piece upward, a camming mechanism forces the shoulder to rotate vertically. This bending lets the wide snap fold inward and slide out of the hole without shattering.
Factory production and future fleets
Tesla ran advanced finite element analysis to optimize every curve digitally before manufacturing began. The software simulation tuned the parts to require just 7 Newtons of insertion force. That equals the gentle weight of a large apple. A single modern car needs roughly 300 of these interior clips. Analysts say reducing the push effort helps factory workers and assembly robots install 600 million clips annually with less fatigue.
At the same time, the outer sleeve grips the metal frame with 243 Newtons of holding force. This matches the stress of hanging a 50-pound weight. Technicians can reuse the hardware endlessly to save money on warranty repairs. This durable fastener is a basic requirement for the next generation of vehicles. Upcoming autonomous Robotaxi fleets need tight packaging to survive a decade of heavy commercial driving. And the tiny patent proves the company cares deeply about microscopic mechanical details.
You can view the official filing below:

