A newly published Tesla patent is offering one of the strongest hints yet that the long-awaited next-generation Roadster is getting close to reality, and its cabin will be just as radical as its performance numbers.
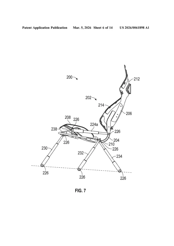
Patent No. US 20260061898 A1, published on March 5, 2026, describes a “vehicle seat system” built around a single continuous composite frame. Tesla is calling it a monolithic structure, where the seat base, backrest, headrest, and bolsters are all thermoformed into one unified piece, replacing the dozens of metal brackets, recliner mechanisms, and rivets found in a typical car seat.

From Megacasting to Megaseating
The philosophy behind this patent will sound familiar to anyone who’s followed Tesla’s manufacturing story. The same company that pioneered gigantic aluminum castings to eliminate hundreds of body parts is now applying that logic to the cabin. Traditional car seats involve over 13 major part groups, each a potential source of noise, weight, or failure. Tesla’s approach collapses all of that into a single thermoformed component.
The frame is made from anisotropic composite materials. Options include fiberglass-nylon, carbon-nylon, Kevlar-nylon, and Kevlar-polymer composites. These aerospace-grade materials allow the seat to be incredibly thin and lightweight while remaining stiff enough for the extreme forces a hypercar generates during acceleration and cornering.
Tunable stiffness and a living hinge
What makes this more than just a lightweight shell is the engineering detail. The patent describes up to six distinct stiffness regions (R1 through R6) spread across the seat, backrest, hinge, headrest, and bolsters.

By varying ply thickness and fiber orientation in each zone, Tesla can precisely tune how the seat feels and performs without adding separate reinforcement parts.
The hinge connecting the backrest to the seat base is perhaps the most interesting element. Rather than using a traditional mechanical recliner with gears and brackets, the hinge is built directly into the continuous frame as a “living hinge”, a flexible zone designed by varying composite thickness to match the human body’s natural skeletal pivot point. Alternatively, the patent describes a linkage assembly with interlocking gears and rods driven by motors for more controlled movement along an ergonomically optimized path.
Software-controlled 6-degree-of-freedom adjustment
Instead of separate motors for height, tilt, and track position, the seat uses four pairs of linear actuators managed by a central electronic control unit. Working together through coordinated software, these actuators deliver full six-degree-of-freedom movement – fore/aft, height, cushion tilt, and backrest recline – all from a single integrated system. This eliminates the need for separate seat rails, hydraulic pumps, and recliner mechanisms that conventional seats rely on.


The ECU receives user input through touchscreen, buttons, or switches, and uses sensor feedback to confirm and hold the desired position. It’s essentially a software-defined seat.
Airbag integration and scalability
The bolsters on the backrest are specifically shaped to guide airbag deployment along a pre-configured trajectory, with left and right bolsters designed differently so each directs its respective airbag along a distinct path. Ventilation holes are also formed directly into the composite backrest for passive or active airflow, and a molded recess in the headrest area allows soft trim to snap in without tools or fasteners.
While this technology is tailor-made for the Roadster’s tight packaging, the patent also mentions cheaper fiberglass-nylon material options – hinting that this seat architecture could eventually scale to vehicles like the Cybercab or a mass-market sedan.
This patent landed just weeks before Elon Musk’s publicly targeted April 1, 2026 Roadster design reveal. Combined with two new Roadster trademarks filed last month featuring a futuristic silhouette and angular wordmark, the puzzle pieces are lining up. Production is expected 12 to 18 months after the reveal, potentially placing deliveries in 2027 or 2028.
You may also like to read:
- Musk backs “incredible” Tesla Roadster after Brownlee calls it “cooked” »
- Musk says new Roadster is “The best of the last” driver-controlled cars »
- Tesla plans Roadster unveiling for April 2026 »

