Tesla’s new patent for an RF-transparent roof points to a future where its cars could talk directly to Starlink satellites and cellular networks through hardware hidden in the roof structure.
Tesla’s U.S. patent application US20250368267A1 describes a “vehicle roof assembly with integrated RF transparency for electronic module” that replaces a conventional metal or glass roof panel with an outer panel made from radio-frequency transparent polymer blends such as PC/ABS/ASA. This outer panel is shaped and layered so that antennas can sit behind it and still receive and transmit signals cleanly to satellites and cellular networks.
The patent explains that traditional metal roofs block radio waves and glass has limits, so carmakers often use external “shark fin” antenna modules on the roof. Tesla’s design instead turns the roof into an RF window, so antennas and related electronics can be hidden inside the structure while keeping signal quality high.

Hidden “antenna farm” in the roof
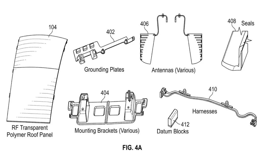
The filing outlines a compact “electronics module” that bolts into the roof and carries much more than a single antenna. The module can group satellite antennas, LTE antennas, Wi-Fi and Bluetooth antennas, a processor, connectivity card, microphone, speaker, fan and ducts, map lights, and the hazard switch into one unit that arrives at the factory ready to install.
The RF-transparent polymer layer lets Tesla “hide the ‘antenna farm’ inside the roof structure” while protecting those components from weather and damage. The document also sets target fields of view: roughly 0–30 degrees above the horizon for LTE coverage and about 75 degrees from zenith for GNSS reception, which is important for stable links to cell towers and navigation satellites.

Tesla links this roof concept to its push for more modular and automated manufacturing. The patent notes that the entire roof, with electronics pre-installed, can be built on a horizontal fixture, then dropped onto the body as a single subassembly instead of technicians installing many small parts overhead.
Internal commentary on the patent claims this approach can cut assembly effort and time by a factor of three to five because wiring, antennas, and interior trim are layered into the roof module before it reaches the main line. This matches Tesla’s broader “unboxed” manufacturing strategy, where large pre-built modules simplify final assembly and support higher levels of factory automation.
Safety, comfort and material choice
The filing argues that an RF-transparent polymer roof can still meet crash and head-impact rules if paired with foam and headliner layers that act together as a “membrane” during a hit. This lets Tesla trim headliner thickness, which can free more headroom without giving up safety performance.
The document also mentions that the roof panel can be opaque rather than glass, which can reduce solar heat gain and cut the need for heavy tinting. RF-transparent polymers such as PC/ABS/ASA blends are chosen for both structural strength and low dielectric constant and loss.
Link to Starlink and Starlink mobile
The patent never names Starlink or SpaceX, yet the timing and architecture line up with Starlink Direct to Cell and with SpaceX’s push into mobile connectivity. In September 2025, SpaceX agreed to buy wireless spectrum licenses from EchoStar for about $17 billion to support Starlink-based 5G and direct-to-device service.
In December, SpaceX also filed trademark applications in the U.S. for “Starlink Mobile” and related branding, covering telecom services and data delivery to phones and vehicles.
SpaceX’s own Direct to Cell update notes that the service moved from testing to commercial use over 2024–2025. After receiving key FCC approval in late 2024, Starlink began offering satellite messaging in the United States for T‑Mobile subscribers and in New Zealand for One NZ, using 4G LTE phones with no extra hardware.
How Tesla connects today
Today Tesla relies on terrestrial mobile networks for most vehicle data. An exclusive agreement with AT&T supports Premium Connectivity in the United States, which delivers connected navigation, live traffic data, music and video streaming, and other online features for a monthly or annual fee on newer vehicles.
Elon Musk said Tesla cars would use second-generation Starlink satellites for coverage, though early direct-to-satellite bandwidth is limited and best suited to texting and basic data rather than full in-car video streaming.
Automotive use is more demanding than fixed Starlink dishes, so the patent’s focus on material science and packaging is key. RF-transparent polymers for a roof panel need to keep a low dielectric constant and loss tangent for good RF performance, but they also must handle wide temperature swings, UV exposure, impacts, and long service life on a moving vehicle.
Research on RF-transparent polymer windows and high-performance radome plastics notes that blends and layered structures can be tuned to balance stiffness, toughness, RF transparency, and thermal management, often by pairing structural layers with foams or thermally conductive yet RF-transparent skins. Tesla’s filing uses similar ideas, pairing RF-transparent outer skins with interior layers and space for electronics, while separate Tesla-related patents and solar roof work show the company has experience embedding electronics into roof structures at scale.
Tesla has not announced any production vehicle with an RF-transparent roof or confirmed that future models will ship with integrated Starlink antennas, so the patent is a technical and strategic marker rather than a product launch. Still, the timing, combined with SpaceX’s spectrum deal, Starlink Mobile trademark moves, and the rollout of Direct to Cell, hints that Tesla is preparing its vehicle architecture for a future where satellite and cellular connectivity are built into the car from day one.
You can check out and download the full patent application below.
You may also like to read:
- Musk says unsupervised FSD is “pretty much solved” »
- Tesla’s 2025.44.25.1 update introduces Unreal Engine visuals »
- Tesla charging passport to decide lifetime supercharging winners »

